全焊接球閥結構圖
目前,全球提倡節能節耗,隨著城市化的不斷發展,清潔能源的需求量與日俱增,因此各地天然氣、液化氣等管道建設紛紛上馬,尤其是新小區建設中已將集中供熱、暖通、燃氣作為 的配套項目。因此為了便于配氣和維護在各類輸氣管道上必須安裝相應規格的球閥。由于供熱輸氣管道中的密封性能要求較高,因此此類閥門要求耐壓性好、無泄漏點,而現有的閥門由于密封結構不合理泄漏點多,因此很難用于輸氣管道上。
全焊接球閥是一種耐壓性好、結構簡單、節能降耗的閥門,是一種集中供熱暖通天然氣、液化石油氣管道配件,尤其適合安裝在蒸汽輸送管道上的便于安裝和配送氣的閥門。

圖1:全焊接球閥結構示意圖
全焊接球閥結構組成(圖1)介紹如下:
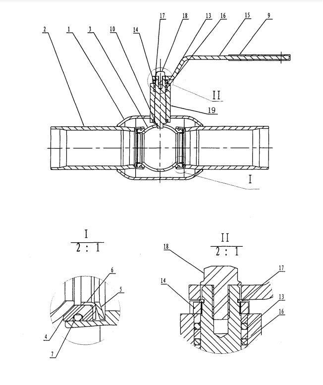
包括閥體1、閥體1的兩端各焊接有一個一端伸入閥體1中的閥管2,其特征是所述的兩個閥管2伸入閥體1中的一端上均安裝有密封座4,球體3分別與兩側的密封座4上的球面端面相抵,各密封座4的另一端插入閥管2中并與對應的支撐環6相抵,碟簧5卡裝在所述的支撐環6和閥管2端部的管肩之間,球體3上設有一個與閥管2相通的通孔,在球體3上連接有帶動球體3轉動的閥桿10,閥桿10安裝在固定于閥體1上的閥桿座19中,在閥桿10和閥桿座19之間安裝有兩個密封圈16,在兩個密封圈16之間加裝有墊圈13,在閥桿10的頂部卡裝有彈性卡圈17,操作手柄15通過緊固件18套裝固定在閥桿10上并與彈性卡圈17相抵,在彈性卡圈17和閥桿座19的上端面之間安裝有壓蓋14。
上一篇新聞:硬密封蝶閥型號及種類
下一篇新聞:高壓蝶閥正確的使用方式
服務熱線:0577-85981234 
當前位置:
